






Unveiling Tomorrow's Automotive Style and Functionality
The Ingenious Concept of Disappearing Stripes
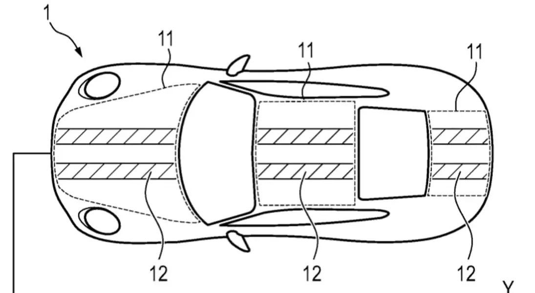
Porsche's latest patent introduces an innovative system where racing stripes, typically a fixed design element, can be made to appear and disappear on demand. This is achieved through the application of advanced film materials, specifically electronic paper or paramagnetic coatings, to the vehicle's outer surface. These materials possess the remarkable ability to alter their color and visibility when an electrical voltage is applied, transforming the car's appearance with a simple command.
Beyond Aesthetics: Practical Applications of Dynamic Design
The utility of this technology extends far beyond purely decorative purposes. Porsche envisions these dynamic stripes serving as functional indicators for drivers. For instance, the stripes could intuitively change color to reflect the car's current drive mode, such as illuminating green for an eco-friendly setting or shifting to red to signify a performance-oriented sport mode. Furthermore, in electric vehicles, this technology could offer a visual representation of the car's charge status directly on its exterior, providing a quick and clear overview to the owner.
Technological Underpinnings: A Step Forward in Smart Surfaces
The core of this groundbreaking system lies in its use of cutting-edge materials and electronic control. The exterior film, whether electronic paper or a paramagnetic coating, acts as a canvas that responds to electrical stimuli. This concept builds upon existing electrochromic glass technology, which is already used in various applications to change opacity. Porsche's patent represents a significant advancement, applying similar principles to a larger surface area and integrating it seamlessly into the vehicle's design for both aesthetic appeal and practical information display.
Future Implications for Vehicle Customization and Information Display
This patent highlights Porsche's commitment to pushing the boundaries of automotive design and technology. By integrating dynamic visual elements into the car's exterior, the company is exploring new avenues for personalization and communication. This development could pave the way for more interactive vehicle surfaces, where cars not only transport but also visually inform and adapt to the owner's preferences and the car's operational state, offering a glimpse into the future of intelligent automotive exteriors.
