





Porsche's ingenious engineers have unveiled a groundbreaking enhancement to their T-Hybrid turbocharger system, specifically targeting a long-standing, often unacknowledged problem in twin-turbo engine configurations: inconsistent airflow between cylinder banks. This advanced iteration, detailed in a newly discovered patent, transcends the initial goal of merely eradicating turbo lag. By integrating electric motors directly into each turbocharger, the system can meticulously monitor and instantaneously rectify any discrepancies in boost pressure, thereby guaranteeing smooth and continuous power delivery, preventing potential engine damage, and marking a remarkable evolution in forced induction technology.
Porsche's Innovative T-Hybrid System Tackles Twin-Turbo Airflow Discrepancies
Stuttgart, Germany – In a significant leap for automotive engineering, Porsche has unveiled further advancements to its innovative T-Hybrid turbocharger system. Initially introduced in May with the new 911 GTS to combat turbo lag through an integrated electric motor, the technology has now been refined to address a more subtle yet critical issue in twin-turbo setups: uneven airflow between cylinder banks.
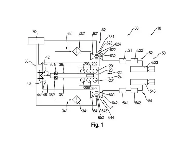
The problem, as identified by Porsche's dedicated engineers, stems from the conventional design of parallel twin-turbo systems where a single mass air flow (MAF) sensor in a shared intake plenum monitors overall air intake. This setup often fails to detect individual airflow imbalances from each turbo, which can arise from factors like intake valve pulses or temperature fluctuations. Such imbalances can lead to inconsistent power, noticeable flat spots, and in severe cases, dangerous 'flow stall' – a phenomenon where hot air reverses direction, potentially causing catastrophic damage to the turbos and engine components.
A recent patent, discovered by CarBuzz and filed with the German Patent and Trade Mark Office (DPMA), details Porsche's ingenious solution. The enhanced T-Hybrid system leverages the electric motors within each turbocharger not just for instant spool-up, but also as active regulators of airflow. When the MAF sensor indicates a pressure drop, signaling airflow disruption, the engine management system cross-references turbo speeds. If one or both turbos are decelerating due to reverse pressure, their respective electric motors are immediately engaged to restore optimal rotational speed, thereby stabilizing intake pressure across both engine banks. This intelligent, self-correcting mechanism ensures seamless torque delivery and significantly mitigates the risk of flow stall. While primarily described for a six-cylinder engine, this adaptable system has the potential to revolutionize any engine utilizing parallel twin-turbo technology.
A Paradigm Shift in Engine Performance and Durability
This latest innovation from Porsche underscores a proactive approach to engineering challenges, moving beyond conventional problem-solving to preemptively address potential performance limitations and reliability concerns. The integration of electric motors into twin-turbo architecture to manage airflow equilibrium is not merely an incremental upgrade; it represents a paradigm shift in how forced induction systems can be optimized for both performance and longevity. This development provides inspiration for the broader automotive industry, highlighting the value of continuous refinement and the pursuit of even the most elusive engineering perfections. It reminds us that true innovation often lies in identifying and solving problems that others might not even recognize, ultimately leading to a superior driving experience and enhanced engine durability.
