










Hyundai is gearing up to significantly expand its presence in the American pickup truck market beyond its current Santa Cruz model, with plans for a full-size offering in the near future. This expansion includes a keen focus on innovative design elements, notably a midgate system.
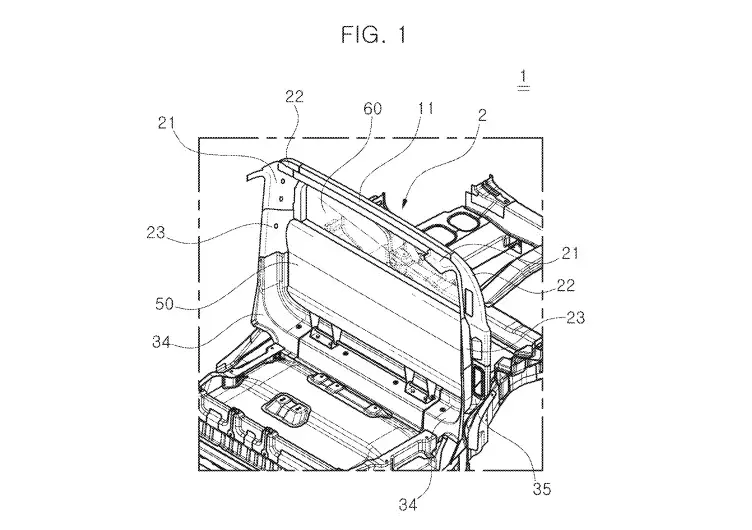
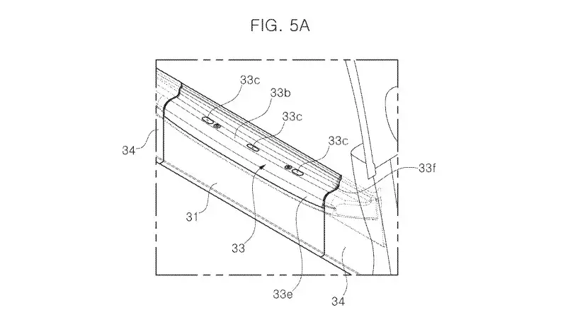
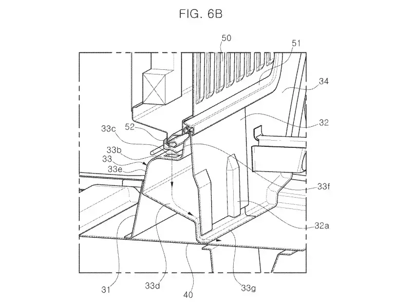
Hyundai's new patent application, filed in late 2024, introduces a sophisticated midgate concept specifically engineered to address a common challenge: water ingress. This design incorporates an integrated drainage system that effectively channels water away from the vehicle's interior, whether the midgate is open or closed, preventing moisture from reaching the cabin, electrical components, and cargo area. This forward-thinking approach, while a subtle detail, highlights Hyundai's commitment to enhancing real-world usability and the overall longevity of its vehicles, a crucial factor that often goes unnoticed in initial product showcases.
While midgates themselves are not a novel concept in the automotive industry, having been featured in models from General Motors and other brands, Hyundai's particular emphasis on water management sets a new standard for design practicality. This patented solution suggests a future where Hyundai's trucks could offer unparalleled versatility and protection against the elements. Although the integration of this technology into production models remains to be seen, it strongly indicates Hyundai's strategic direction towards offering highly functional and thoughtfully designed pickup trucks, likely targeting its forthcoming mid-size truck where such a feature could be a significant differentiator.
Hyundai's proactive pursuit of patenting designs that prioritize user experience and durability reflects a forward-thinking approach to automotive engineering. By focusing on practical innovations like advanced water drainage for its midgate system, the company is not only laying the groundwork for a robust and versatile truck lineup but also demonstrating a commitment to quality and customer satisfaction. This dedication to thoughtful design and continuous improvement ensures that future Hyundai vehicles will not only meet but exceed the evolving demands of modern drivers, fostering a sense of reliability and ingenuity that inspires confidence.
